熱門關鍵詞:
聯系人:曹經理
郵 箱:zhuoligk@163.com
電 話:13181318406
地 址:山東省濟寧市國家高新技術產業園區
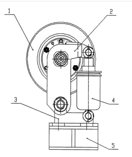
A 新型滾輪罐耳結構組成
滾輪罐耳由滾輪組、擺架組、緩沖器與復合調整器組成

圖一是滾輪的正視圖,其中:1—滾輪、2—擺架、3—支座、4—緩沖器與復合調整器,5—底座

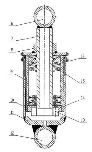
圖二是緩沖器與復合調整器剖視圖,其中:6—懸掛孔、7—導桿、8—調整螺母、9—螺紋、10—螺紋、11—殼體Ⅰ、12—懸掛孔、13—調整工具孔、14—彈簧予緊力調整螺母、15—殼體Ⅱ、16—碟形彈簧。
B 新型滾輪罐耳的工作原理:滾輪1通過軸與擺架2連接,擺架2通過銷軸與支座3及緩沖器與復合調整器4連接,緩沖器與復合調整器4通過銷軸與擺架2及支座3連接,緩沖器與復合調整器由殼體Ⅰ和殼體Ⅱ、碟形彈簧16、彈簧予緊力調整螺母14、導桿7共同組成,通過轉動殼體Ⅱ可調整懸掛長度,從而調整滾輪位置,用鐵絲可鎖緊殼體Ⅰ、Ⅱ;調整螺母8、調整工具孔13用于插入棒狀工具以使螺紋相對轉動;懸掛孔6、12用于與擺架2和支座3連接。